CLIEN

본문 바로가기 메뉴 바로가기 보기설정 테마설정
톺아보기 공감글
커뮤니티 커뮤니티전체 C 모두의광장 F 모두의공원 I 사진게시판 Q 아무거나질문 D 정보와자료 N 새로운소식 T 유용한사이트 P 자료실 E 강좌/사용기 L 팁과강좌 U 사용기 · 체험단사용기 W 사고팔고 J 알뜰구매 S 회원중고장터 B 직접홍보 · 보험상담실 H 클리앙홈
소모임 소모임전체 ·굴러간당 ·아이포니앙 ·주식한당 ·방탄소년당 ·일본산당 ·MaClien ·개발한당 ·자전거당 ·AI당 ·이륜차당 ·안드로메당 ·소시당 ·콘솔한당 ·소셜게임한당 ·바다건너당 ·물고기당 ·키보드당 ·VR당 ·노젓는당 ·ADHD당 ·창업한당 ·나혼자산당 ·PC튜닝한당 ·테니스친당 ·갖고다닌당 ·육아당 ·골프당 ·클다방 ·냐옹이당 ·어학당 ·레고당 ·방송한당 ·라즈베리파이당 ·달린당 ·여행을떠난당 ·IoT당 ·나스당 ·3D메이킹 ·X세대당 ·AI그림당 ·날아간당 ·사과시계당 ·배드민턴당 ·야구당 ·농구당 ·블랙베리당 ·곰돌이당 ·비어있당 ·FM당구당 ·블록체인당 ·보드게임당 ·활자중독당 ·볼링친당 ·캠핑간당 ·문명하셨당 ·클래시앙 ·요리한당 ·쿠키런당 ·대구당 ·DANGER당 ·뚝딱뚝당 ·디아블로당 ·개판이당 ·동숲한당 ·날아올랑 ·전기자전거당 ·e북본당 ·이브한당 ·패셔니앙 ·도시어부당 ·FM한당 ·맛있겠당 ·포뮬러당 ·젬워한당 ·걸그룹당 ·안경쓴당 ·차턴당 ·총쏜당 ·땀흘린당 ·하스스톤한당 ·히어로즈한당 ·인스타한당 ·KARA당 ·꼬들한당 ·덕질한당 ·가죽당 ·리눅서당 ·LOLien ·Mabinogien ·임시소모임 ·미드당 ·밀리터리당 ·땅판당 ·헌팅한당 ·오른당 ·영화본당 ·MTG한당 ·소리당 ·노키앙 ·적는당 ·찰칵찍당 ·그림그린당 ·소풍간당 ·심는당 ·패스오브엑자일당 ·품앱이당 ·리듬탄당 ·Sea마당 ·SimSim하당 ·심야식당 ·윈태블릿당 ·미끄러진당 ·축구당 ·스타한당 ·스팀한당 ·파도탄당 ·퐁당퐁당 ·테스트당 ·빨콩이당 ·공대시계당 ·터치패드당 ·트윗당 ·가상화폐당 ·시계찬당 ·WebOs당 ·위스키당 ·와인마신당 ·WOW당 ·윈폰이당
임시소모임
고객지원
  • 게시물 삭제 요청
  • 불법촬영물등 신고
  • 쪽지 신고
  • 닉네임 신고
  • 제보 및 기타 제안
© CLIEN.NET
공지[점검] 잠시후 서비스 점검을 위해 약 30분간 접속이 차단됩니다. (금일 18:15 ~ 18:45)

굴러간당

이야기 포르쉐 뉴스 - 용서가 쉽다 (아님) / 레이싱 스트라이프 (배터리게이지) / 클래식 911 - 쓰래기 4

1
2026-04-20 16:32:46 182.♡.188.179
전자치킨

[포르쉐(Porsche) 최신 이슈 뉴스 인덱스]

  1. 마칸 일렉트릭의 냉혹한 중고가 현실: "지른 자의 용기, 경매에선 통하지 않았다"

  2. 포르쉐의 새로운 특허: 레이싱 스트라이프가 '배터리 게이지'로 변신한다

  3. 포르쉐 복원의 대가 얀 칼마의 독설: "순정 클래식 911은 쓰레기다"




마칸 일렉트릭의 냉혹한 중고가 현실: "지른 자의 용기, 경매에선 통하지 않았다"


 Low-Mileage Macan Electric Owner Says A $33k Auction Hit Is Too Hard To Handle


하이프(Hype)와 시장의 현실은 역시 달랐습니다. 2025년형 포르쉐 마칸 터보 일렉트릭의 이야기가 커뮤니티에서 화제입니다. 차주가 신차 출시의 열기에 휩싸여 약 **1억 6,800만 원($121,855)**을 주고 지른 이 차량은, 불과 **2,414km(1,500마일)**를 주행한 후 중고 경매 사이트인 'Cars&Bids'에 올라왔습니다. 하지만 경매 결과는 참담했습니다. 최고 응찰가가 **약 1억 2,200만 원($88,500)**에서 멈춰버린 것이죠.


 Low-Mileage Macan Electric Owner Says A $33k Auction Hit Is Too Hard To Handle Low-Mileage Macan Electric Owner Says A $33k Auction Hit Is Too Hard To Handle Low-Mileage Macan Electric Owner Says A $33k Auction Hit Is Too Hard To Handle Low-Mileage Macan Electric Owner Says A $33k Auction Hit Is Too Hard To Handle Low-Mileage Macan Electric Owner Says A $33k Auction Hit Is Too Hard To Handle


이 차량은 '아이스 그레이 메탈릭' 컬러에 22인치 RS 스파이더 디자인 휠, 스포츠 크로노 패키지 등 약 2,000만 원 상당의 옵션이 꽉 채워진 풀옵션급 사양입니다. 630마력의 강력한 출력과 제로백 3.1초라는 슈퍼카급 성능을 가졌음에도 불구하고, 시장의 반응은 싸늘했습니다. 낙찰이 성사되었다면 차주는 불과 몇 달 만에 **약 4,600만 원($33,355)**이라는 거액을 허공에 날리게 되는 셈이었고, 결국 판매자는 판매를 거부했습니다.


 Low-Mileage Macan Electric Owner Says A $33k Auction Hit Is Too Hard To Handle Low-Mileage Macan Electric Owner Says A $33k Auction Hit Is Too Hard To Handle Low-Mileage Macan Electric Owner Says A $33k Auction Hit Is Too Hard To Handle Low-Mileage Macan Electric Owner Says A $33k Auction Hit Is Too Hard To Handle Low-Mileage Macan Electric Owner Says A $33k Auction Hit Is Too Hard To Handle


포르쉐 딜러들도 현재 비슷한 고민에 빠져 있습니다. 전 세계적으로 마칸의 판매량이 23% 감소했으며, 특히 전기차 버전인 일렉트릭 모델의 타격이 더 큽니다. 대기 수요가 넘칠 것이라는 초기 예상과 달리 1분기 인도가 43%나 급락한 상황이죠. "용기를 내어 질렀던 용자"들이 다시 중고 시장으로 쏟아져 나오기 시작하면서, 마칸 EV의 가치 방어선에 빨간불이 켜졌다는 분석이 지배적입니다.


 Low-Mileage Macan Electric Owner Says A $33k Auction Hit Is Too Hard To Handle Low-Mileage Macan Electric Owner Says A $33k Auction Hit Is Too Hard To Handle Low-Mileage Macan Electric Owner Says A $33k Auction Hit Is Too Hard To Handle Low-Mileage Macan Electric Owner Says A $33k Auction Hit Is Too Hard To Handle Low-Mileage Macan Electric Owner Says A $33k Auction Hit Is Too Hard To Handle Low-Mileage Macan Electric Owner Says A $33k Auction Hit Is Too Hard To Handle Low-Mileage Macan Electric Owner Says A $33k Auction Hit Is Too Hard To Handle Low-Mileage Macan Electric Owner Says A $33k Auction Hit Is Too Hard To Handle Low-Mileage Macan Electric Owner Says A $33k Auction Hit Is Too Hard To Handle Low-Mileage Macan Electric Owner Says A $33k Auction Hit Is Too Hard To Handle Low-Mileage Macan Electric Owner Says A $33k Auction Hit Is Too Hard To Handle



  • 📉 1.6억 원에 산 마칸 EV 터보가 주행 2,400km 만에 중고가 4,600만 원이 증발하며 유찰되었습니다.

  • ⚡ 강력한 성능과 화려한 옵션에도 불구하고 전기차 수요 둔화로 인한 중고가 폭락 현상이 뚜렷합니다.

  • 📉 포르쉐의 1분기 마칸 EV 인도량이 43% 급감하며 신차와 중고차 시장 모두 고전하고 있습니다.


출처: https://www.carscoops.com/2026/04/low-mileage-macan-electric-owner-says-a-33k-auction-hit-is-too-hard-to-handle/

[.. 최근 지인이 마칸 EV 스탁으로 샀는데 매우 만족해 합니다.. 할인 1%였던가..?]


[아니 엿다고 합니다..]




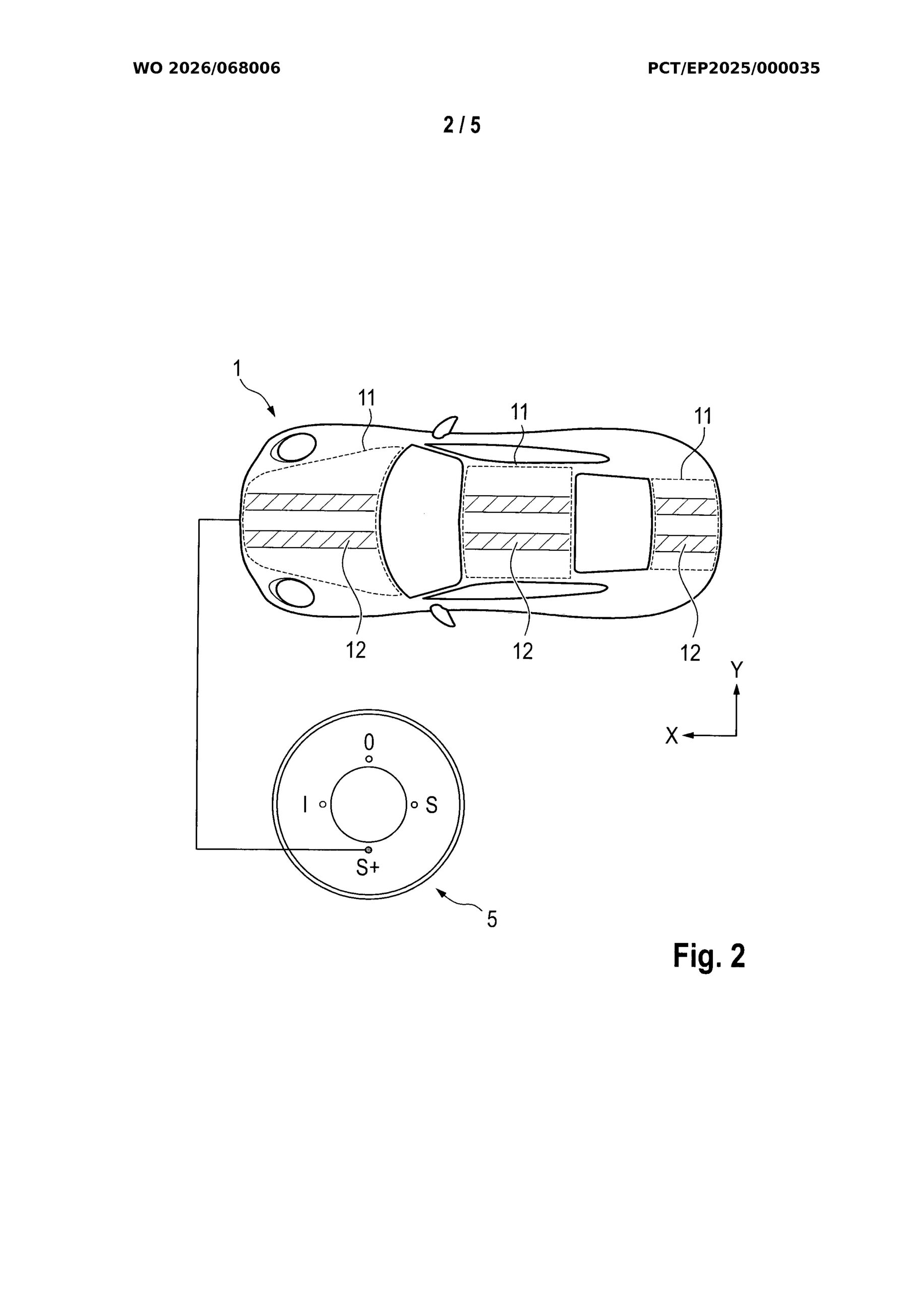
포르쉐의 새로운 특허: 레이싱 스트라이프가 '배터리 게이지'로 변신한다


 Porsche’s New Patent Turns Racing Stripes Into A Battery Gauge


내 차에 레이싱 스트라이프를 넣을지 말지 고민하던 시대는 이제 끝날지도 모릅니다. 포르쉐가 버튼 하나로 외장 데칼을 나타나게 하거나 사라지게 만드는 '능동형 광학 가변 코팅' 기술을 특허청에 등록했습니다. BMW가 선보였던 iX Flow의 'E-Ink' 기술과 유사한 개념으로, 전기적 신호를 주면 차체 패널의 코팅이 반응하여 색상이나 패턴을 바꾸는 방식입니다.


 Porsche’s New Patent Turns Racing Stripes Into A Battery Gauge


이 기술의 핵심은 단순한 멋 부리기를 넘어선 기능성에 있습니다. 포르쉐는 이 코팅을 **'외부 배터리 게이지'**로 활용하는 방안을 제시했습니다. 스마트폰 앱을 켜거나 실내 대시보드를 확인하지 않아도, 차량 옆을 지나가며 차체에 나타난 패턴의 색상(충전 시 녹색, 부족 시 적색 등)만으로 배터리 잔량을 즉시 확인할 수 있습니다. 마치 스마트 기기의 배터리 바(Bar)가 차량 외관 전체에 구현되는 셈입니다.



 Porsche’s New Patent Turns Racing Stripes Into A Battery Gauge Porsche’s New Patent Turns Racing Stripes Into A Battery Gauge Porsche’s New Patent Turns Racing Stripes Into A Battery Gauge Porsche’s New Patent Turns Racing Stripes Into A Battery Gauge

또한, 이 시스템은 주행 모드와 연동되어 **'스포츠 모드'**를 선택하면 자동으로 레이싱 스트라이프가 나타나 시각적인 고양감을 선사할 수도 있습니다. 포르쉐는 이 기술이 레이스 경기 중 동일한 차종 사이에서 내 차를 식별하는 용도로도 유용할 것이라고 덧붙였습니다. SF 영화에서나 보던 "색깔 변하는 자동차"가 포르쉐의 이름으로 현실이 될 날이 멀지 않아 보입니다.


https://www.carscoops.com/wp-content/uploads/webp/2026/04/Untitled-1-copy-2-1024x640.webp


  • 🎨 전기적 신호로 외장 컬러와 패턴을 바꾸는 **'능동형 코팅 기술'**이 포르쉐 특허로 등록되었습니다.

  • 🔋 차체 외벽에 나타나는 색상 패턴을 통해 배터리 잔량을 외부에서 즉시 확인할 수 있습니다.

  • 🏎️ 스포츠 모드 선택 시 레이싱 스트라이프가 자동으로 생성되는 등 감성적인 퍼포먼스도 지원합니다.


출처: https://www.carscoops.com/2026/04/porsche-stripes-patent/


[개구리의 줄무늬가 선명해 지면.. 전투모드네요.. 





포르쉐 복원의 대가 얀 칼마의 독설: "순정 클래식 911은 쓰레기다"



 When Enthusiasts Drive A Classic 911, They “Realize It’s A Piece Of S***,” Says The Man Who Rebuilds Them


포르쉐 911, 그중에서도 공랭식 클래식 모델은 전 세계 자동차 마니아들의 로망이자 완벽한 드라이빙 머신의 상징으로 추앙받습니다. 하지만 포르쉐 복원 및 레스토모드 분야의 장인으로 손꼽히는 '칼마 오토모티브(Kalmar Automotive)'의 설립자 얀 칼마(Jan Kalmar)의 생각은 전혀 다릅니다. 그는 최근 인터뷰에서 클래식 911의 환상에 젖어 있는 이들에게 아주 냉혹하고 솔직한 독설을 날렸습니다.



환상과 현실의 괴리: "골프보다 못한 주행감"


https://www.carscoops.com/wp-content/uploads/webp/2026/01/Kalmar-Porsche-7-97-Turbo-Edition-2-1024x683.webp


얀 칼마는 "우리 세대는 젊을 때 모두 911을 꿈꿨고, 이제 경제적 여유가 생겨 그 꿈을 산다"며 이야기를 시작했습니다. 하지만 그는 "막상 꿈에 그리던 차를 사서 운전해 보면, 그것이 '쓰레기(Piece of S*)'**라는 것을 깨닫게 된다"고 일갈했습니다. 그의 표현에 따르면 순정 상태의 클래식 911은 마치 "뼈가 부러진 채 움직이는 것" 같으며, 심지어 현대적인 폭스바겐 골프가 훨씬 더 잘 달린다고 평했습니다.


그는 올드 포르쉐 애호가들이 공랭식 엔진의 감성에 취해 차량의 기계적 결함과 부족한 주행 안정성을 애써 외면하고 있다고 지적합니다. 현대적인 자동차의 날카로운 피드백에 익숙해진 사람이 아무런 보강 없는 911을 탔을 때 느끼는 이질감은 생각보다 크다는 것입니다. 911의 헤드라이트 하나 가격이 골프 한 대의 유지비와 맞먹는 현실을 고려하면 더욱 그렇습니다.



장인의 해결책: "구조적 결함을 고치는 광기"


https://www.carscoops.com/wp-content/uploads/webp/2025/01/Kalmar-Porsche-7-97-18-1024x683.webp



칼마는 이러한 클래식 911의 단점을 극복하기 위해 단순히 복원하는 수준을 넘어, 아예 차를 다시 설계하는 방식을 택했습니다. 전설적인 레이서 톰 크리스텐슨을 위해 제작했던 '7-97' 모델이 그 시작이었습니다. 그는 964의 섀시가 가진 한계를 극복하기 위해 993의 하체를 이식하고, 시속 300km 이상에서 발생하는 불안정한 에어로다이내믹을 해결하기 위해 모든 패널을 재설계했습니다.


그가 현재 개발 중인 '9x9' 하이퍼카는 이러한 광기의 정점입니다. 993 기반에 992의 파워트레인을 얹어 917마력을 뿜어내며, 뉘르부르크링 7분 언더를 목표로 합니다. 그는 "사람들은 현실적인 주행 경험이 아니라 추억을 쫓는다"고 말하며, 본인의 역할은 그 불완전한 추억을 현대적인 기술로 완벽하게 다듬어 '진짜 드림카'로 만드는 것이라고 정의했습니다.



결론: 클래식 소유는 '고행'인가 '축복'인가


https://www.carscoops.com/wp-content/uploads/webp/2024/08/Kalmar-9X9-00001-1024x642.webp 


얀 칼마의 발언은 클래식 911에 대한 단순한 비난이 아니라, 그 가치를 제대로 즐기기 위해 얼마나 많은 비용과 기술적 보강이 필요한지를 역설적으로 보여줍니다. 순정 상태의 클래식카를 소유한다는 것은 현대적 기준의 '성능'을 포기하고 불편함을 감수하는 과정이며, 이를 현대적 감각으로 살려내기 위해서는 차값 이상의 투자가 필요하다는 현실을 짚어준 것입니다.


  • 🎙️ 칼마 오토모티브의 얀 칼마는 순정 클래식 911이 현대적인 골프보다 주행감이 형편없다고 비판했습니다.

  • 🛠️ 그는 클래식카의 향수는 환상일 뿐이며, 실제로는 뼈가 부러진 듯한 불안정한 주행감을 가졌다고 지적합니다.

  • 🏎️ 이러한 한계를 극복하기 위해 993 기반의 917마력 하이퍼카 9x9를 개발하며 클래식의 현대적 재해석을 실천 중입니다.


출처: https://www.carscoops.com/2026/04/kalmar-automotive-911-restomod/


LINK

[매번 차라는것은 진화를 하니까 맞는 이야기인것같긴합니다..ㅎㅎ] LINK


전자치킨 님의 게시글 댓글
  • 주소복사
  • Facebook
  • X(Twitter)
댓글 • [4]
리릿
IP 175.♡.33.88
04-20 2026-04-20 17:17:36 / 수정일: 2026-04-20 17:18:25
·
미국이 고가 전기차.. 그니깐 10만달러 넘는게 인기가 없어요.
한국이 훨씬 잘 팔립니다.

미국 넘들 감성이 그런가봐요. 테슬라 말고는 솔직히 전기차.. 뭐 없고요.
Rafael
IP 103.♡.125.1
04-20 2026-04-20 17:56:04
·
이 글을 보고 마칸GTS를 검색해봤는데... 여전히 비싸게 팔리네요 ㅎㅎ 내연기관이기 때문이려나요
전자치킨
IP 182.♡.188.179
04-20 2026-04-20 17:57:40
·
@Rafael님 내연기관은.. 또 다르죠..ㅋㅋ 911 을 제외한다면 정비성까지 좋으니..ㄷㄷ 여전히 중고가도 높을것같습니다.
Rafael
IP 103.♡.125.1
04-20 2026-04-20 19:35:07
·
@전자치킨님 와이프한테 마칸EV로 바꾸려면 (마칸 중고가가 버티고 있는) 지금이 기회!라고 말을 했는데 너무 못생겨서 싫답니다 ㅎㅎㅎㅎ 바꾸고싶은 차가 없다네요;
새로운 댓글이 없습니다.
이미지 최대 업로드 용량 15 MB / 업로드 가능 확장자 jpg,gif,png,jpeg,webp
지나치게 큰 이미지의 크기는 조정될 수 있습니다.
목록으로
글쓰기
글쓰기
목록으로 댓글보기 이전글 다음글
아이디  ·  비밀번호 찾기 회원가입
이용규칙 운영알림판 운영소통 재검토요청 도움말 버그신고
개인정보처리방침 이용약관 책임의 한계와 법적고지 청소년 보호정책
©   •  CLIEN.NET
보안 강화를 위한 이메일 인증
안전한 서비스 이용을 위해 이메일 인증을 완료해 주세요. 현재 회원님은 이메일 인증이 완료되지 않은 상태입니다.
최근 급증하는 해킹 및 도용 시도로부터 계정을 보호하기 위해 인증 절차가 강화되었습니다.

  • 이메일 미인증 시 글쓰기, 댓글 작성 등 게시판 활동이 제한됩니다.
  • 이후 새로운 기기에서 로그인할 때마다 반드시 이메일 인증을 거쳐야 합니다.
  • 2단계 인증 사용 회원도 최초 1회는 반드시 인증하여야 합니다.
  • 개인정보에서도 이메일 인증을 할 수 있습니다.
지금 이메일 인증하기
등록된 이메일 주소를 확인하고 인증번호를 입력하여
인증을 완료해 주세요.